УДК 622.647:681.5.08
Петрушкевич Р.В., студент; Гавриленко Б.В., доцент, к.т.н.
Внедрение прогрессивных автоматических методов ведения технологических процессов повышает требования к точности измерения отдельных параметров и процессов. Одновременно с этим неизбежное усложнение процессов производства заставляет существенно расширять пределы измерения величин и изыскивать новые методы их измерения в новых, более сложных условиях.
Температура — важнейший параметр технологических процессов многих отраслей промышленности. Как мера внутренней энергии тела она не поддается непосредственному восприятию и измерению, а вместе с тем с нею связаны большинство аварийных ситуаций на движущихся объектах и установках.
В зависимости от характера контакта чувствительного элемента первичного преобразователя с объектом, температуру которого измеряют, методы измерений температур разделяются на две основные группы — контактные и бесконтактные. При контактном методе измерения температуры требуется наличия механического контакта первичного преобразователя с объектом измерения, и теплообмен между ними осуществляется путём теплопроводности и (или) конвекции. Все бесконтактные методы измерений температур (методы пирометрии) основываются на использовании того или иного свойства теплового излучения объекта, которые воспринимается дистанционно расположенным приемником. Выбор того или иного метода измерения определяется характером излучения объекта, временными характеристиками энергетического процесса.
При вращении приводной барабан испытывает нагрев вследствие действия сил трения между ним и резиновой лентой конвейера. Устранить этот негативный процесс невозможно в силу сложности явлений, происходящих при движении ленты по контура барабана. И как следствие, при превышении допустимой температуры нагрева лента может воспламениться. Это в свою очередь влечет за собой развитие аварийной ситуации на подземном транспорте вплоть до подземного пожара.
Измерение с помощью термопар температуры поверхности и отдельных деталей вращающихся объектов распространено довольно широко. Однако при его осуществлении встречаются технические трудности, связанные с обеспечением теплового контакта вращающегося объекта и рабочего конца неподвижно закрепленной термопары. Этот недостаток можно устранить, используя в качестве измерительного прибора пирометр.
Особенность пирометров заключается в том, что они реализуют бесконтактный метод измерения температуры, используя для этого тепловое излучение тел. Поэтому принципиально не требуется непосредственного контакта с объектом измерения. Кроме того, быстродействие пирометров велико по сравнению с термометрами. В качестве недостатков следует указать на большую их сложность по сравнению с термометрами и как следствие — меньшую надежность в эксплуатации, а также более высокие требования к квалификации обслуживающего персонала, и самое главное - пирометры измеряют не действительную, а некоторую условную температуру.
В предлагаемом методе измерения температуры приводного барабана был использован промышленный пирометр частичного излучения «Смотрич -2». Он построен по принципу прямого преобразования, однако имеют встроенный источник сравнения, который позволяет производить периодически калибровку прибора, т. е. контролировать постоянство коэффициента передачи фотоэлектрического тракта пирометра.
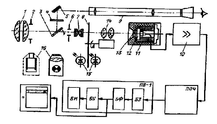
Пирометр (рис.1) включает датчик (PbS-фоторезистор), промежуточный преобразователь, измерительный преобразователь и при необходимости самопишущий потенциометр. Объектив 1 создает изображение объекта измерения в плоскости полевой диафрагмы 6, размеры которой определяют поле зрения прибора. Коллективные линзы 7 создают изображение апертурной диафрагмы 2 в плоскости диска модулятора 8, которое линзами 14 проектируется в плоскость приемника излучения 12. Приемник 12 и светофильтр 13 находятся в термостате 11. Предусилитель 10 усиливает переменный сигнал приемника излучения. Система синхронизации 15, состоящая из пары светодиод-фотодиод, обеспечивает работу синхродетектора. В качестве источника сравнения 16 используется лампочка с вольфрамовой нитью. Визирная система пирометра, обеспечивающая наведение датчика на объект, состоит из окуляра 9, неподвижного зеркала 5, матового стекла 4 и подвижного зеркала 3.

Рисунок 1 - Блок-схема стационарного пирометра «Смотрич -2»
Мощность Ф, которую излучает исследуемый объект, равна энергии W, излучаемой этим телом в полусферу в единицу времени


где К - удельная чувствительность фоторезистора; L - освещенность, лм; S - светочувствительная площадка фоторезистора, см2; U - напряжение, приложенное к фоторезистору, В.
Сигнал датчика пирометра, представляющий собой напряжение переменного тока, подается на промежуточный преобразователь ППЧ, который обеспечивает необходимое усиление и преобразование этого сигнала в напряжение постоянного тока 0-1 В. В ППЧ расположена схема питания всех блоков пирометра, а также схема коррекции показаний на влияние коэффициента излучения объекта в диапазоне изменения от 0,1 до 1 с дискретностью 0,01. С выхода ППЧ напряжение постоянного тока, пропорциональное измеряемой температуре, подается на вход измерительного преобразователя ПВ-1, который содержит блоки, осуществляющие линеаризацию сигнала (БФ), запоминание максимального значения температуры (БЗ), преобразование в один из унифицированных сигналов ГСП (БУ), а также индикацию измеряемых значений температуры (БИ).
После обработки результатов измерения на выходе пирометра формируется аналоговый сигнал, который далее используется в системе автоматического управления и контроля состояния конвейерной установки.
Таким образом, реализация пирометрического метода измерения температуры позволит более эффективно проводить измерение технологических параметров вращающихся объектов подземного транспортного комплекса шахты и исключать аварийные ситуации.
Перечень ссылок
1. Гордов А.Н., Жагулло О.М., Иванова А.Г. Основы температурных измерений -М.:Энергоатомиздат, 1992.-304 с.
2. Полищук Е.С. Измерительные преобразователи. -К.: Вища школа, 1981.-296 с.